Dryococelus australis
No live specimen of the Lord Howe Island Phasmid (Dryococelus australis) had been seen since the 1930s. It was thought that it may very well be extinct.The introduction of rats earlier in the century, had a tremendous impact on the wildlife of the isolated island, including the phasmid. The rarity and endangerment of its native species led to the island’s listing as a World Heritage Area in 1982.
In February of 2001, a group of five scientists travelled to one of the most spectacular islands in the world, Ball’s Pyramid, located 10 miles south west of Lord Howe Island in an effort to locate any surviving specimens. On two occasions in the past (the last in 1968), the body of a dead phasmid had been found on the island, so there was some hope the a vestigial colony remained.
Climbing in the middle of the night up a shear cliff face to a promising area of vegetation, the scientists discovered three live individuals, the first seen in almost 80 years. Efforts are now underway to bring the insect back from the brink of extinction, with the long-term goal of reintroducing it back to its original range.
Fig. 1. Ball’s Pyramid. Max. Elevation: 1,843ft (562m.)
Notes:
Ball’s Pyramid was first climbed on February 14, 1965 by Bryden Allen, John Davis, Jack Pettigrew and David Witham.
There is a short segment at NPR from October, 2002 that includes a mention of the phasmid here.
Catullus 5
A vividly impassioned (and enlightening) analysis of Catullus’ Poem No. 5 from humanities.classics:
“There is not enough room on the Internet to say everything that could be said about this poem. It may be one of the greatest poems ever written. Elision […] is rampant; liquid consonants abound. Read aloud, it is truly beautiful.”
“And why the elision and the liquids? Because it is a poem of seduction, of intercourse, of sexual climax and, finally, of the sigh that follows orgasm. ‘Lesbia’ is the nickname that Catullus gave to the married woman he was in love with […] the poet Sappho who lived on the island of Lesbos.”
“The seduction ends with the long slow line ‘Nox est perpetua una dormienda.’ The love making begins with the kisses, rises to a climax with the exploding ‘b’s in ‘Conturbabimus illa’ and coasts to a close in the last two lines.” ‡
Vivamus, mea Lesbia, atque amemus,
Rumoresque senum severiorum
Omnes unius aestimemus assis.
Soles occidere et redire possunt:
Nobis, cum semel occideit brevis lux,
Nox est perpetua una dormienda.
Da mi basia mille, deinde centum,
Dein mille altera, dein secunda centum,
Deinde usque altera mille, deinde centum,
Dein, cum milia multa fecerimus,
Conturbabimus illa, ne sciamus,
Aut ne quis malus invidere possit,
Cum tantum sciat esse basiorum.
Hear the poem being read aloud in both the original Latin and in an English translation here.
A translation:
Let us live, my Lesbia, and love, and value at
one farthing all the talk of crabbed old men.
Suns may set and rise again. For us, when the
short light has once set, remains to be slept and the sleep
of one unbroken night.
Give me a thousand kisses, then a hundred, then
another thousand, then a second hundred, then yet
another thousand, then a hundred. Then, when we
have made up many thousands, we will confuse our
counting, that we may not know the reckoning, nor
any malicious person blight them with evil eye, when
he knows that our kisses are so many.
Buckle
Next time you cinch-down a strap using the ubiquitous Slide-Release buckle, thank Richard J. Tracy, inventor of U.S. Patent 4150464, filed August 10, 1977; and John A. Bakker and David C. Boyer, inventors of U.S. Patent 4171555, filed May 1, 1978. Both patents are held by the Illinois Tool Works, Inc. of Chicago, Illinois.The Tracy patent (see Fig. 1) covers the actual locking buckle with the bendable locking arms on the clasp, and the grooved slot in the receptacle. The Bakker, Boyer patent (see Fig. 2) covers the means by which the strapping is locked and secured.
I use these buckles all the time camping and hiking, and I always marvel at their utility and seeming simplicity. In recent years they’ve become the standard means to lock down the rain fly on tents, which is such a good idea that I can’t believe someone didn’t think of using them for that purpose sooner.
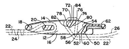
Fig. 1. Patent 4150464.
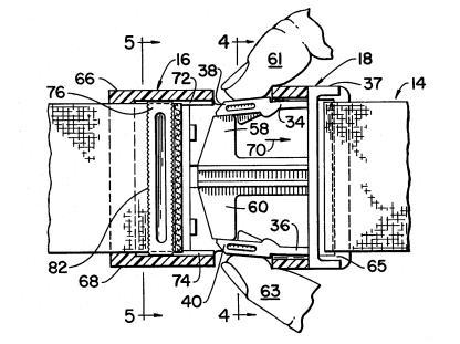
Fig. 2. Patent 4171555.
Dropkick
Adropkick is “a kick by a kicker who drops the ball and kicks it as, or immediately after, it touches the ground.” Dropkicks were common in the old NFL, but since the ball has been made more oblong they are never seen any more; in fact, the last drop kick occured over 60 years ago.From a 2000 article in Coffin Corner, the official magazine of the Professional Football Researchers Association, by Rick Gonsalves:
Earl “Dutch” Clark was the last player to drop kick a field goal in the NFL in 1937. He connected on a 9-yarder for Detroit against the Chicago Cardinals on September 19, 1937.
Dick Tuckey of the Cleveland Rams did drop kick 2 PATs against the Chicago Bears on October 23, 1938. On November 13 during that same season, Brooklyn’s Ralph Kercheval drop kicked an extra point against the Philadelphia Eagles.
Ray “Scooter” McLean of the Chicago Bears drop kicked an extra point against the New York Giants in the fourth quarter of the NFL Championship game on December 21, 1941.
That site also contains this great compendium on all the known, successful 50-yard dropkicks in NFL history. I really appreciate that fetishistic level of detail.
Originally, the dropkick could be attempted from any point on the field, even beyond the line of scrimmage. Unfortunately, this rule was changed in 1991—as alluded to in this Sports Illustrated article about Doug Flutie from 1998 (containing his thoughts on the dropkick). What harm was this rule? It’s too bad we’ll never again be able to see the spectacle of a desperation dropkick in the open field to win a game.
Update! (Jan. 1, 2006): Holy Cow! Doug Flutie just converted the first dropkick in over 60 years!
On January 1st, 2006, with 6:15 left in the 4th quarter and the score, Miami 25 - New England 19 after a 9-yard touchdown pass from Matt Cassel, Flutie came in and dropkicked the extra point to make it 25-20. This is the first dropkick in the NFL since 1941 and the first during the regular season since 1938.
Update (Nov. 25, 2010): Dallas Cowboy’s punter Matt McBriar performed an illegal kick of a fumbled ball in an attempt to recover from a botched punt attempt. While he did kick the ball after it bounced off the ground, it wasn’t the first bounce as stipulated by the rule (see above) and so was not technically a drop kick; it was simply an illegal kick. Even if by some miracle the ball had carried through the uprights, it would not have scored 3 points.There still hasn’t been a dropkick for a field goal since 1937.




